-
get_c(a, f - 1)计算左侧a个元素中选取f - 1个的组合数。 -
get_c(b, f - 1)计算右侧b个元素中选取f - 1个的组合数。 - 每个
1的贡献值累加到ans中,最终输出对答案的贡献总和。
二进制谜题:中位数的秘密题解
题解
我们的问题是计算长度为 k 的子序列的中位数总和,而其中的每个子序列都是一个二进制数组。由于二进制串中只有 0 和 1,所以子序列的中位数只可能是 0 或 1。且只有当中位数为 1 时,才会对答案产生贡献。因此,我们只需要关注中位数为 1 的子序列,忽略中位数为 0 的情况。

排序与有效子序列的构建
将数组 a 进行排序的原因在于,题目要求一个有效子序列的构建方式为 左边部分比右边部分小。排序后,我们可以方便地找到所有 1 并计算其左右部分的元素数量。
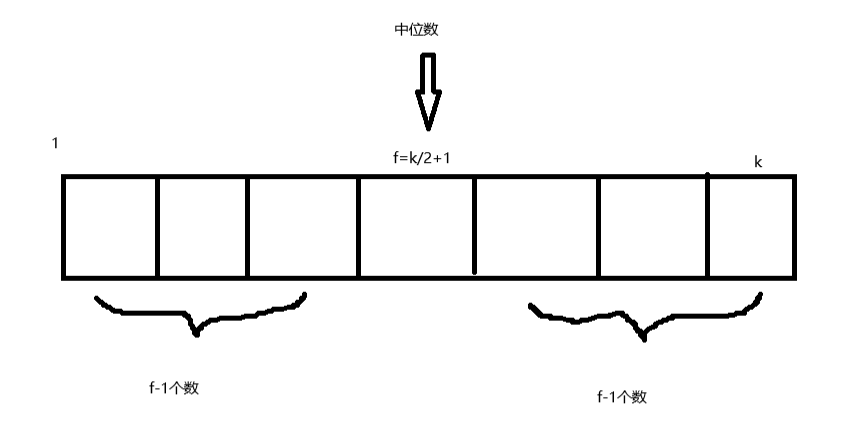
对于数组 a 中每个值为 1 的元素,假设它的位置是 i,则可以确定该元素的左侧和右侧分别有多少个元素:
int a = i - 1, b = n - i;
其中,a 表示左侧的元素数量,b 表示右侧的元素数量。
组合数的计算
当找到位置 i 上的 1 时,我们可以将它与左侧的 a 个元素中的 f - 1 个元素,以及右侧的 b 个元素中的 f - 1 个元素组合,构成一个有效的子序列(其中 f = k / 2 + 1 是中位数所在的位置)。
该 1 对答案的贡献为:
组合数的公式为:
$$ \binom{m}{n} = \frac{m!}{n!(m-n)!} $$ 为了高效计算组合数,我们使用**乘法逆元**。同时,提前预处理一个阶乘数组和逆元数组,以加速组合数的计算。代码示例
以下代码展示了如何计算每个位置为 1 的元素对答案的贡献:
for (int i = f; i <= n - f + 1; ++i)
{
if (a[i] == 1)
{
int a = i - 1, b = n - i;
ll num = get_c(a, f - 1) * get_c(b, f - 1) % mod;
ans += num;
ans %= mod;
}
}
在该代码中:
代码
#include <bits/stdc++.h>
#define PI acos(-1)
#define all(a) (a).begin(), (a).end()
#define erjinzhi(n) __builtin_popcountll(n);
#define IOS \
ios_base::sync_with_stdio(0); \
cin.tie(0); \
cout.tie(0);
// #pragma GCC optimize(2,"Ofast","inline")
using namespace std;
typedef long long ll;
typedef long double LD;
typedef pair<int, int> PII;
const char nl = '\n';
const int N = 2e5 + 10;
const int mod = 1e9 + 7;
int a[N], b[N];
int fact[N], infact[N]; // fact存阶乘 ,infact存阶乘的逆元
int qmi(int a, int n, int mod)
{ // 快速幂 求得 a^n % mod
int res = 1;
while (n)
{
if (n & 1)
res = (ll)res * a % mod;
a = (ll)a * a % mod;
n >>= 1;
}
return res;
}
ll get_c(int a, int b)
{
return (ll)fact[a] * infact[b] % mod * infact[a - b] % mod;
}
void solve()
{
int n, k;
cin >> n >> k;
for (int i = 1; i <= n; ++i)
cin >> a[i];
sort(a + 1, a + 1 + n);
int f = k / 2 + 1;
ll ans = 0;
for (int i = f; i <= n - f + 1; ++i)
{
if (a[i] == 1)
{
int a = i - 1, b = n - i;
ll num = get_c(a, f - 1) * get_c(b, f - 1) % mod;
ans += num;
ans %= mod;
}
}
cout << ans << nl;
}
int main()
{
IOS;
fact[0] = infact[0] = 1;
for (int i = 1; i < N; i++)
{
fact[i] = (ll)fact[i - 1] * i % mod; // 预处理前5000的阶乘和逆元
infact[i] = (ll)infact[i - 1] * qmi(i, mod - 2, mod) % mod;
}
int t;
cin >> t;
while (t--)
{
solve();
}
return 0;
}
复制链接
https://blog.lxx.ip-ddns.com/index.php/archives/34/
Warning: Undefined array key "HTTP_ACCEPT_LANGUAGE" in /usr/home/LXX123/domains/www.lxxblog.cfd/public_html/usr/themes/Farallon/comments.php on line 4
Deprecated: stripos(): Passing null to parameter #1 ($haystack) of type string is deprecated in /usr/home/LXX123/domains/www.lxxblog.cfd/public_html/usr/themes/Farallon/comments.php on line 4
[...]333606206注意在第一个测试用例中,数组 $[1,0,0,1]$ 中有四个长度为 $k=3$ 的子序列:$[1,0,0]$:中位数 $= 0$。$[1,0,1]$:中位数 $= 1$。$[1,0,1]$:中位数 $= 1$。$[0,0,1]$:中位数 $= 0$。这些中位数的总和是 $0 + 1 + 1 + 0 = 2$。在第二个测试用例中,所有长度为 $1$ 的子序列的中位数都是 $1$,[...]
[...]题目列表古代王国的正交拉丁方阵秘文破解石碑中的三阶秘阵二进制谜题:中位数的秘密题解列表古代王国的正交拉丁方阵秘文题解破解石碑中的三阶秘阵题解二进制谜题:中位数的秘密题解[...]